به گزارش خبرخوان
جنرال موتورز با ثبت اختراع یک موتور دوزمانه مدرن، صنعت ماشین را شگفتزده کرد. موتورهای دوزمانه که طبق معمولً در موتورسیکلتها و خودروهای کوچک بهکار میروال، از زمانها پیش بهعلت آلایندگی شدید، دوام پایین و مشکلات مکانیکی مورد انتقاد قرار گرفتهاند. اختراع جنرال موتورز بهجستوجو از بین بردن این نقاط ضعف است، درحالیکه نسبت قوت به وزن عالی موتورهای دوزمانه را نگه داری میکند.
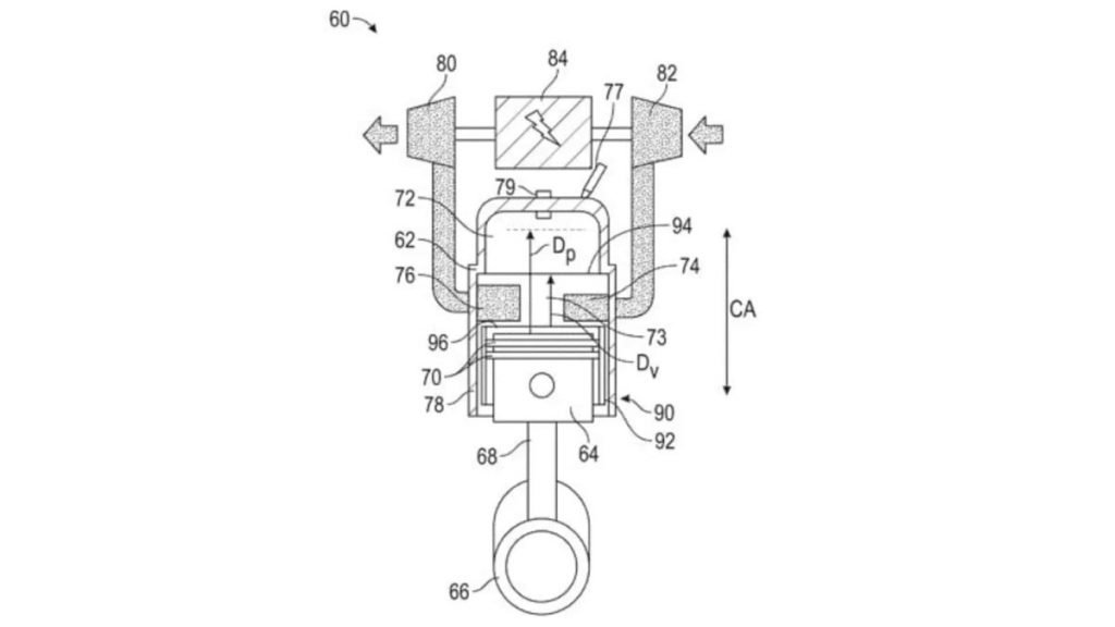
این موتور دارای یک غلاف متحرک بین پیستون و دیواره سیلندر است. برخلاف دریچههای ثابت معمولی، این غلاف هماهنگ با پیستون حرکت میکند؛ برای مکش باز میشود، در میانه احتراق بسته میشود و برای خروج گازها مجدد باز میشود. این غلاف این چنین حلقههای پیستون را در دهانههای دریچه جابهجا میکند و خطر قفل کردن موتورهای دوزمانه کلاسیک را افت میدهد. مقصد از این مطرح افت آلایندگی، بهبود راندمان و افزایش عمر موتور است.
اگرچه این اختراع برای خودروها، افزایشدهندههای برد هیبریدی یا موتورهای ثابت در نظر گرفته شده است، اما مزایای آن برای موتورسیکلتها قابلدقت خواهد می بود. اکثر تولیدکنندگان موتورسیکلت بهعلت تشدید مقررات آلایندگی و هزینههای بالای تحقیق و گسترش، موتورهای دوزمانه را کنار گذاشتهاند. اگر سیستم سوپاپ غلافی جنرال موتورز با استانداردهای مدرن مطابقت داشته باشد، برندهای سازنده موتورسیکلت میتوانند حق منفعت گیری از این فناوری را خریداری کنند یا از آن الهام بگیرند و پیشرانهای که از زمانها پیش منسوخ شده می بود را احیا کنند.
موتور دوزمانه جنرال موتورز در کدام موتورسیکلتها بهکار میرود؟
موتورهای سبکوزن پاک، وسایل نقلیه با موتور کمحجم و نسبت قوت به وزن عالی، یا حتی موتورسیکلتهای هیبریدی با افزایشدهندههای برد دوزمانه میتوانند از این فناوری منفعت ببرند. موتورهای TPI ساخت KTM نشان دادهاند که موتورهای دوزمانه پاک قابل تشکیل می باشند. رویکرد جنرال موتورز میتواند با از بین بردن مشکلات و کنترل دقیق زمانبندی پورت، این فناوری را گسترش دهد.
یقیناً این فقط یک ثبت اختراع است، نه یک نمونه اولیه کارآمد. تعداد بسیاری از مطرحهای امیدوارکننده دوزمانه بهعلت پیچیدگی یا هزینه مهندسی بالا نتوانستهاند به موتورهای تولیدی قابل منفعت گیری تبدیل شوند. بااینحال، شراکت جنرال موتورز اعتبار بیشتری به این مطرح میدهد. شرکتهای مقداری میتوانند اندوختهگذاری ملزوم برای اختراع مجدد موتورهای دوزمانه را فراهم کنند.

درنهایت، اگر جنرال موتورز در مدرنسازی موتورهای دوزمانه برای صنعت ماشین موفق شود، امکان پذیر موتورسیکلتها بهطور غیرمستقیم از مزایای آن منفعتمند شوند. مسئله دلنشین این است که احیای موتورهای دوزمانه برای موتورسیکلتها احتمالا توسط یک خودروساز انجام شود و شرایط را برای تشکیل موتورهای پاکتر، بادوامتر و درعینحال شوقانگیز فراهم کند.
دسته بندی مطالب
اخبار کسب وکار
