برچسب: جنرال موتورز

شگفتی صنعت ماشین در آمریکا؛ حیات مجدد موتور دوزمانه با پشتیبانی جنرال موتورز_خبرخوان

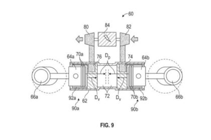
به گزارش خبرخوان جنرال موتورز با ثبت اختراع یک موتور دوزمانه مدرن،…

علی باقری علی باقری

فناوری تازه جنرال موتورز، شما را از جاده‌های نامناسب دور نگه می‌دارد_خبرخوان

به گزارش خبرخوان جنرال موتورز درحال گسترش فناوری جدیدی است که به…

علی باقری علی باقری

جنرال موتورز انتظار دارد تا ۵ میلیارد دلار تحت تأثیر تعرفه‌های ترامپ قرار گیرد_خبرخوان

به گزارش خبرخوان جنرال موتورز پیش‌بینی درآمد و سود خود برای سال…

علی باقری علی باقری

سریع‌ترین خودروی آمریکایی تاریخ؛ شورولت کوروت ZR1 رکوردشکنی کرد_خبرخوان

به گزارش خبرخوان شورولت کوروت مدام ابرخودرو قوی و مقرون‌به‌صرفه آمریکایی شناخته…

علی باقری علی باقری

تاکسی‌های خودران کروز سال آینده به ناوگان اوبر اضافه می‌شوند_خبرخوان

به گزارش خبرخوان اوبر تصمیم دارد از سال آینده عمل به منفعت…

علی باقری علی باقری